UNIDENTIFIED
MAGIC I/O PLUS CARD
Hard Drives supported | Two IDE (AT) drives |
Floppy drives supported | Two 360KB, 720KB, 1.2MB, or 1.44MB drives |
Data Bus | 16-bit ISA |
Card Size | Half-length, full-height card |

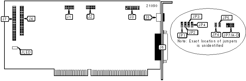
CONNECTIONS | |||
Function | Location | Function | Location |
10-pin serial port 1 - internal | J1 | Bus mouse port - external | J5 |
10-pin serial port 2 - internal | J2 | 25-pin parallel port - external | J6 |
16-pin game port | J3 | 40-pin IDE(AT) connector | J7 |
34-pin cable connector - floppy drive | J4 | Drive active LED | JLED |
USER CONFIGURABLE SETTINGS | |||
Function | Label | Position | |
| » | IDE(AT) interface enabled | JP1 | Pins 1 & 2 closed |
| IDE(AT) interface disabled | JP1 | Pins 2 & 3 closed | |
PARALLEL PORT ADDRESS SELECTION | ||
Setting | JP5 | JP6 |
LPT2 (278h) | Closed | Open |
LPT3 (3BCh) | Pins JP5/1 & JP6/2 closed | |
Disabled | Open | Closed |
SERIAL PORT 1 ADDRESS SELECTION | |||
Setting | JP2 | JP3 | JP4 |
COM1 (3F8h) | Pins 2 & 3 closed | Pins 1 & 2 closed | Pins 1 & 2 closed |
COM2 (2F8h) | Pins 2 & 3 closed | Pins 2 & 3 closed | Pins 1 & 2 closed |
COM1 & COM2 | Pins 1 & 2 closed | Pins 1 & 2 closed | Pins 2 & 3 closed |
Disabled | Pins 1 & 2 closed | Pins 2 & 3 closed | Pins 2 & 3 closed |
MOUSE BUS INTERRUPT SELECTION | ||||
IRQ | JP7/A | JP7/B | JP7/C | JP7/D |
2 | Open | Open | Open | Closed |
3 | Open | Open | Closed | Open |
4 | Open | Closed | Open | Open |
5 | Closed | Open | Open | Open |